一、产品特点
XLC除砂机主要用于城镇污水处理厂旋流沉砂池,该设备利用水力旋流。使泥砂和有机物有效分开,是一种理想的除砂设备。
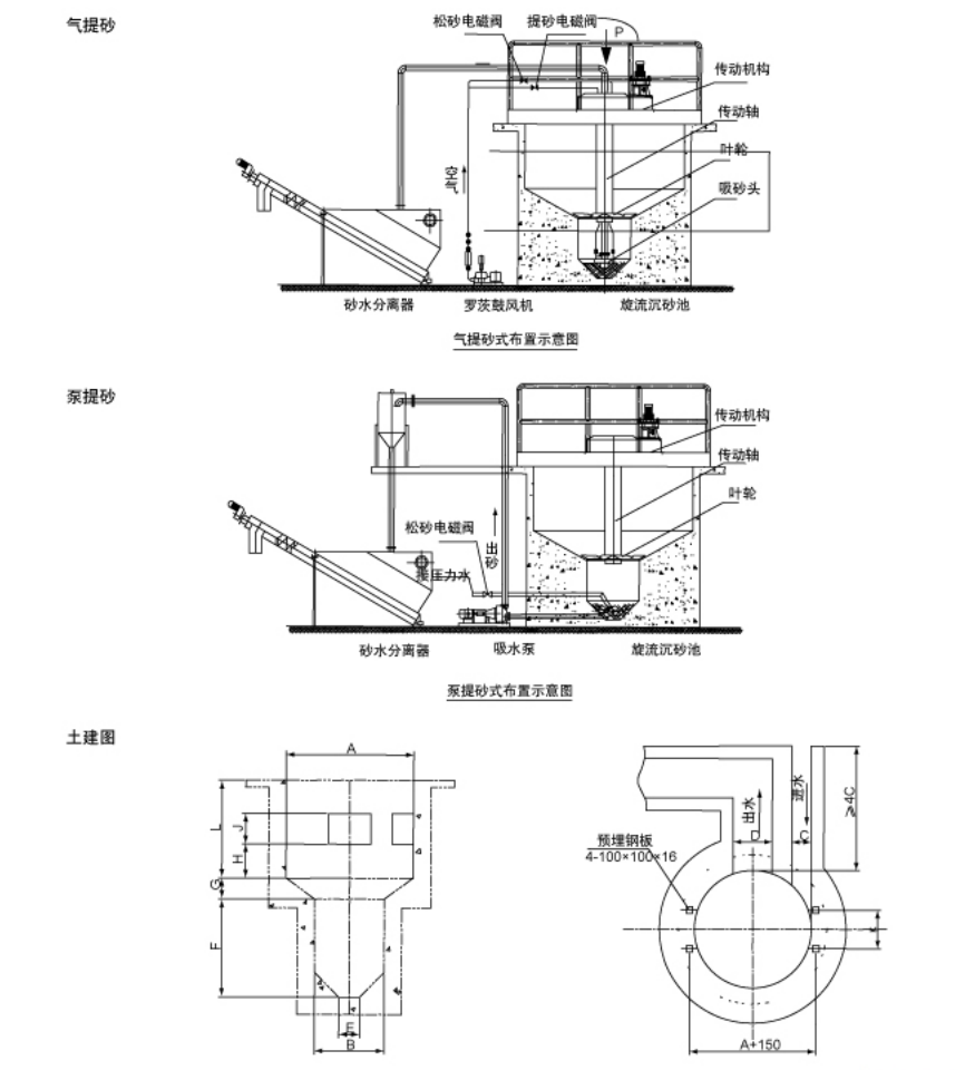
二、结构及工作原理
旋流沉砂池采用锥底圆形池,在池内设有桨叶分离机,在污水从池的切向入流,回旋270°后(按俯视顺时针向),从排放渠排出,利用进水的一定流速作为动力,沿圆形沉砂池的内壁作切线运动,形成旋流,同时通过桨叶搅拌,使液体旋流和轴向涡流,从而加速污水中砂粒沉降,让水中有机物与砂粒有效地分离,同时还利用越靠中心水流断面越小,水流速度加快,底部水流速度向心递增的原理,将池底的沉砂以螺旋状轨迹向中心砂斗移动。有机物在池中心部向上升起,并随出水水流一并排出.底部沉砂经提升装置提升,进入砂水分离器进行砂水分离后,污水则回流至格栅井内。
三、主要技术参数和安装尺寸表
参数 型号 | XLC-1830 | XLC-2130 | XLC-2430 | XLC-3050 | XLC-3650 | XLC-4870 | XLC-5480 | XLC-5800 | XLC-6100 | |
池径φ(mm) | 1830 | 2130 | 2430 | 3050 | 3650 | 4870 | 5480 | 5800 | 6100 | |
处理量Q(m²/h) | 180 | 360 | 720 | 1080 | 1980 | 3170 | 4750 | 6300 | 7200 | |
桨叶分 离机 | 桨叶直径φ(mm) | 1000 | 1500 | |||||||
叶轮转速v(r/min) | 12~20 | |||||||||
电机功率N(kw) | 0.75 | 1.1 | 1.5 | |||||||
鼓风机 | 风量Q1(m³/min) | 1,43 | 1.79 | 1.75 | 1.75 | 2.03 | 1.98 | 1.98 | 2.01 | 2.01 |
压力P1(Kpa) | 34.3 | 34.3 | 39.2 | 39.2 | 44.1 | 53.9 | 53.9 | 58.8 | 58.8 | |
功率N1(kw) | 1.5 | 2.2 | 3.0 | 40 | ||||||
泵 | 流量Q2(m³/min) | 25 | 30 | 40 | ||||||
扬程h(m) | 2-3 | |||||||||
功率N2(kw) | 2.2 3.0 4.0 | |||||||||
安装尺寸 (mm) | A | 1830 | 2130 | 2430 | 3050 | 3650 | 4870 | 5480 | 5800 | 6100 |
000 | 1500 | |||||||||
c | 305 | 380 | 450 | 610 | 750 | 1000 | 1100 | 1200 | 1200 | |
D | 610 | 760 | 900 | 1200 | 1500 | 2000 | 2200 | 2400 | 2400 | |
300 | 400 | |||||||||
F | 1400 | 1400 | 1550 | 1550 | 1700 | 2200 | 2200 | 2500 | 2500 | |
G | 300 | 300 | 400 | 450 | 600 | 1000 | 1000 | 1300 | 1300 | |
H | 300 | 510 | 610 | 760 | ||||||
300 | 300 | 400 | 450 | 580 | 600 | 630 | 700 | 750 | ||
K | 1000 | |||||||||
L | 1100 | 1100 | 1150 | 1350 | 1450 | 1850 | 1850 | 1950 | 1950 | |
工作桥集中载荷P(KN) | 30 | |||||||||
工作扭矩M(N.m) | 600 | 850 | 1195 | |||||||
四、主要特点
■提砂方式有两种:气提式和泵提式,气提处理效果相对较好,泵提成本相对较低;
■使用效果好.0.2mm 以上颗粒去除率大于85%;
■处理量Q<1080m²h的,池体可采用钢制,Q≥1080m²3/h的一般为混凝土结构:
■系统采用PLC 自动控制洗砂,排砂周期,运行安全、可靠。
五、外形安装尺寸图

内容为空!
